8-800-070-0011
Металлообрабатывающее оборудование Все товары 425 Акции Технология
Оборудование для производства мебели Все товары 766 Акции Б/У
info@stanki.kz

Пылеулавливающие агрегаты с фильтр-кассетами ПФЦ-К, ПФЦ-КР и ПФЦ-КРК

Поделиться
Цена по запросу

Производительность: 1250 - 8000 м³/час

Мощность: 0,75 - 11 кВт

Объем накопителей: 0,3 - 2,7 м³

Фильтрующий материал:

бумага / полиэстер / Norafin

Регенерация фильтра:

ручная / автоматическая / комбинированная

Преимущества
  • Фильтровальная кассета из полиэстера с классом очистки М6 или F9
  • Большая площадь фильтрации
  • Автоматическая/ручная система регенерации
  • Дополнительная система регенерации обратной продувкой сжатым воздухом (опция для установок 8000КРК)
  • Низкая стоимость установки по сравнению с центральными аспирациями
  • Большой напор вентилятора и низкий уровень шума
О товаре
Производительность, м³/ч
1250
2000
3000
4000
5000
8000
Общая установленная мощность, кВт
0,75
1,5
3
4
5,5
11
Напор, Па
1800 - 2500
1800 - 2500
1800 - 2500
1800 - 2500
1800 - 2500
1800 - 2500
Тип накопителя
Мешок
Мешок
Мешок
Мешок
Мешок
Биг - бег
Количество накопителей, шт.
1
1
2
2
2
2
Емкость накопителей, м³
0,3
0,3
0,6
0,6
0,6
2,7
Размер присоединительного патрубка, мм
140
180
225
250
280
355
Количество патрубков, шт.
1
1
1
1
1
1
Система регенерации фильтров
Ручная
Ручная
Ручная
Ручная
Ручная
Ручная
Фильтрующий материал
бумага / полиэстер / Norafin
бумага / полиэстер / Norafin
бумага / полиэстер / Norafin
бумага / полиэстер / Norafin
бумага / полиэстер / Norafin
бумага / полиэстер / Norafin
H
2280
2350
2310
2370
2430
2820
H*
2430
2500
2460
2520
2580
3000
h
1305
1310
1260
1260
1260
2190
d
140
180
225
250
280
355
A
1300
1300
1980
1980
1980
2470
B
890
890
835
835
835
1060
c
255
255
-
-
-
-
Вес, кг
По запросу
По запросу
По запросу
По запросу
По запросу
По запросу
ПФЦ- 2000К ПФЦ-3000К, ПФЦ-4000К, ПФЦ-5000К ПФЦ-1250КР, ПФЦ-2000КР ПФЦ-4000КР, ПФЦ-5000КР ПФЦ-8000КР

 

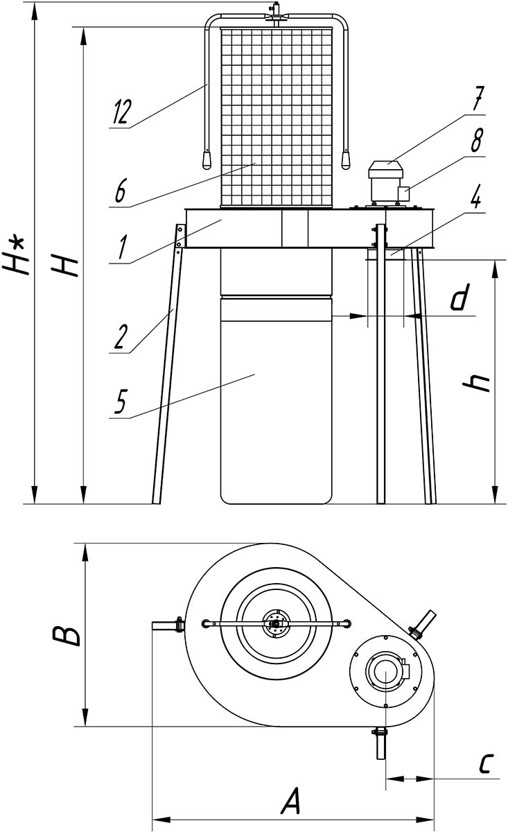
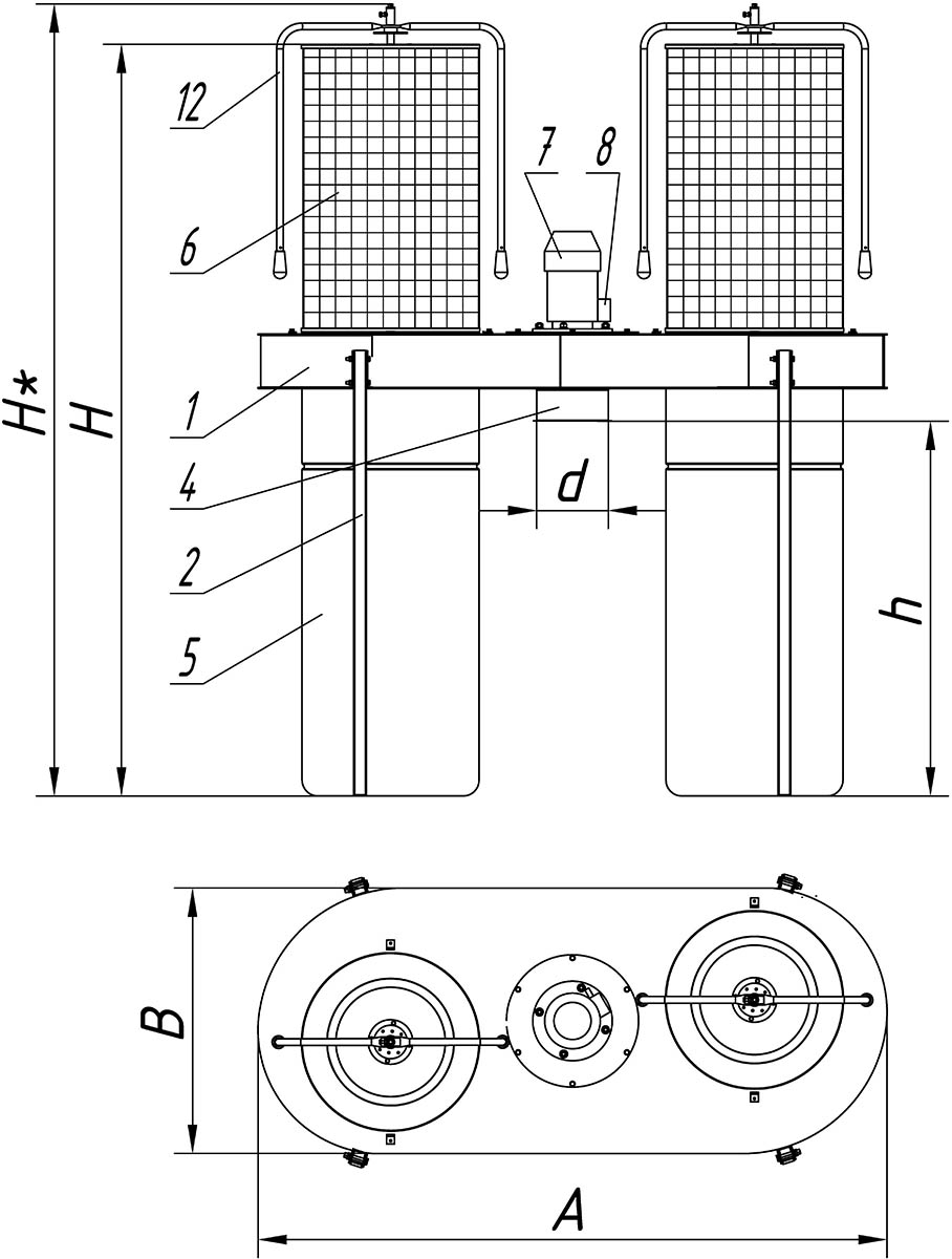
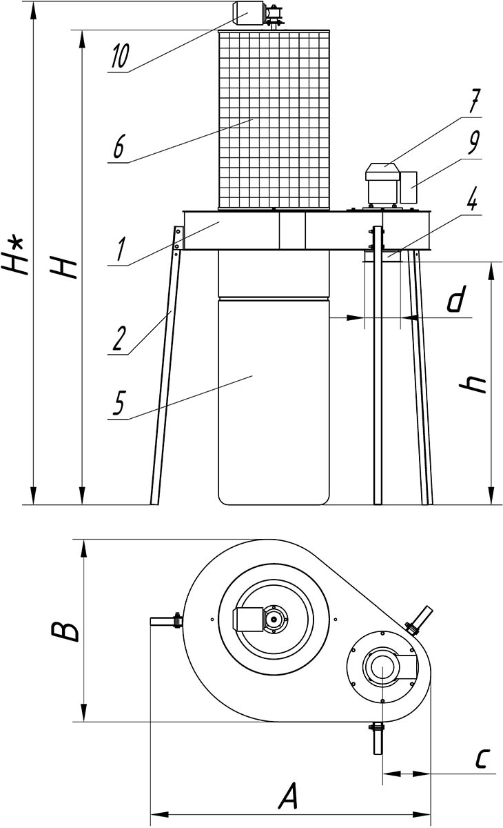
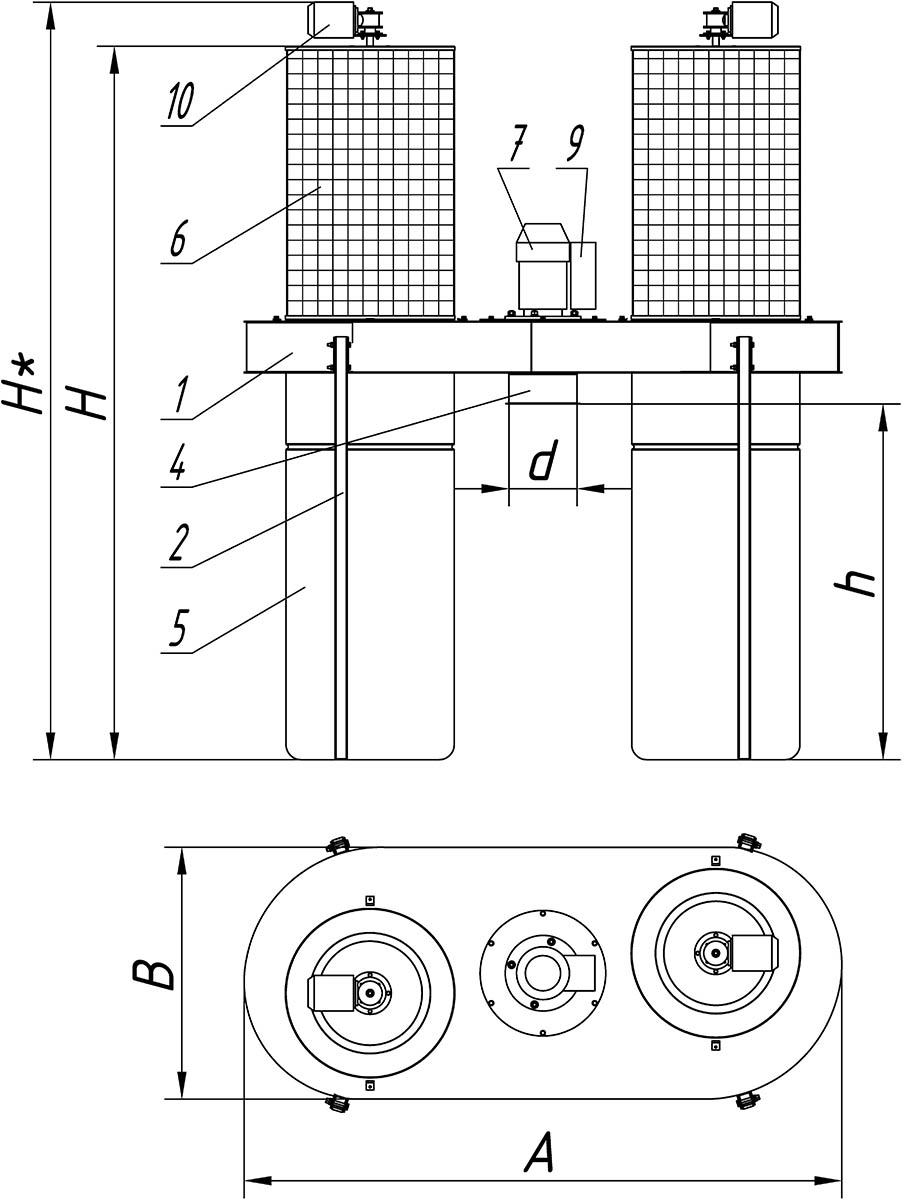
  1. Корпус аппарата в сборе с вентилятором
  2. Стойка
  3. Основание
  4. Входной патрубок
  5. Пылесборный мешок
  6. Фильтровальная кассета
  7. Электродвигатель с вентилятором
  8. Автоматический выключатель
  9. Блок управления
  10. Система регенерации с электроприводом
  11. Пылесборник (мягкий контейнер)
  12. Ручная регенерация
Сервис и технологии
  • Запуск станков
    Запуск станков

    Оборудование наших брендов и других производителей

    Подробнее
  • Обучение персонала
    Обучение персонала

    Готовим операторов станков: теория, демо-стенды, практика на реальных станках с изготовлением детали

    Подробнее
  • Ремонт оборудования
    Ремонт оборудования

    Диагностика, телесервис и восстановление работоспособности в короткие сроки

    Подробнее
  • Подбор, поставка запчастей и масел
    Подбор, поставка запчастей и масел

    Поставляем оригинальные комплектующие и подбираем масла под задачу

    Подробнее
  • Разработка технологии
    Разработка технологии

    Проектируем техпроцесс под конкретное изделие и производство

    Подробнее
  • Подбор финансовых программ
    Подбор финансовых программ

    Льготный лизинг, отсрочка и рассрочка — оптимальные условия от 10+ банков

    Подробнее
Отзывы о Пылеулавливающие агрегаты с фильтр-кассетами ПФЦ-К, ПФЦ-КР и ПФЦ-КРК
10 отзывов
МАШИНПРИБОРЭКСИМ ООО
В данной компании приобрели оборудование для организации столярного цеха, нареканий нет ни к одному ...
Читать полностью
ИП Маркелов Сергей Юрьевич
Приобретением довольны. Оборудование работает, все нас устраивает. Аспирация хорошо улавливает пыль,...
Читать полностью
ООО КсилоСвисс
Агрегат приобретали для станка Filato 1325 Фрезерного станок с ЧПУ, довольны его работой. Мощности хватает, пыль не пропускает, панель управления удобная. Очень удачная покупка.
Читать полностью
ООО Абада Груп
Пылеулавливающий агрегат ПФЦ-2000Кп покупали для фрезерного станка с ЧПУ Filato ST 2030. Работает хорошо, без сбоев, мощности хватает для данного станка. Берите смело!
Читать полностью
ООО ЭНЕРГОЗАПЧАСТЬ
Данный пылеулавливающий агрегат покупали для фрезерного станка с ЧПУ Beaver. Работает хорошо, без сбоев, мощности хватает для данного станка.
Читать полностью
ИП Густова Гюзель Расулевна
Аспирацию брали для мини мастерской, изготавливаем межкомнатные двери. Со своими задачами прекрасно ...
Читать полностью
ООО Флагман
Оборудование работает на нашем производстве в две смены. По работе всё устраивает. Работает четко, так как прописано. Все функции выполняет. Аспирация средней мощности. Убирает чисто.
Читать полностью
ИП Коновалов Вадим Юрьевич
Брали станок как дополнительное оборудование к нашему Фрезерному станку с ЧПУ. Справляется с работой. Мощности хватает. Крошки практически не остается.
Читать полностью
ООО Фаворит
Работает нормально, долго выбирал и остановился на этом варианте и не ошибся, всё качественно сделано, прочный, заявленные функции выполняет. В целом работа оборудования устраивает.
Читать полностью
ООО ЭЛМАФ
Мощный, эффективный, легко справляется с поставленной задачей. Аппарат прост в эксплуатации, имеет встроенную защиту от неумелого обращения.
Читать полностью
Сравнение товаров
Сравнение